北汽蓝谷公告,2025年第一季度营业收入37.73亿元公司配资炒股,同比增长150.75%;归属于上市公司股东的净亏损9.53亿元。营业收入增长主要系报告期整车销量同比增加所致。
举报 第一财经广告合作,请点击这里此内容为第一财经原创,著作权归第一财经所有。未经第一财经书面授权,不得以任何方式加以使用,包括转载、摘编、复制或建立镜像。第一财经保留追究侵权者法律责任的权利。如需获得授权请联系第一财经版权部:banquan@yicai.com 相关阅读
兆威机电今日涨停 三机构专用席位净买入1.65亿元兆威机电今日涨停 三机构专用席位净买入1.65亿元
0 04-11 16:34
分众传媒今日涨停 四机构专用席位净买入8.04亿元分众传媒今日涨停 四机构专用席位净买入8.04亿元
0 04-10 16:27
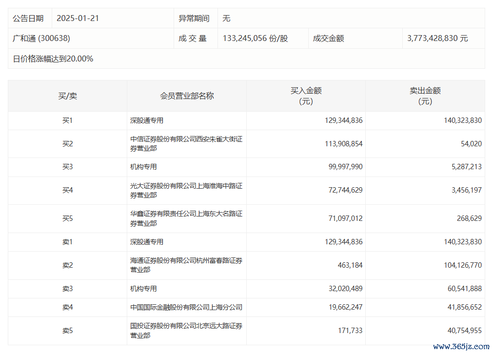
广和通今日涨停 中信证券西安朱雀大街买入1.14亿元广和通今日涨停 中信证券西安朱雀大街买入1.14亿元
0 01-21 16:34
巨轮智能今日跌2.76% 深股通席位买入1.41亿元并卖出1.93亿元巨轮智能今日跌2.76% 深股通席位买入1.41亿元并卖出1.93亿元
22 01-20 16:30
汇洲智能今日跌4.46% 二机构专用席位净买入1.30亿元公司配资炒股汇洲智能今日跌4.46% 二机构专用席位净买入1.30亿元
16 01-20 16:27 一财最热 点击关闭天金策略提示:文章来自网络,不代表本站观点。